Опубликовано 08 июня 2024, 07:30
1 мин.

Apple запатентовала шарнирный механизм для «умных» очков Apple Glass

Возможно, компания вернётся к этому проекту
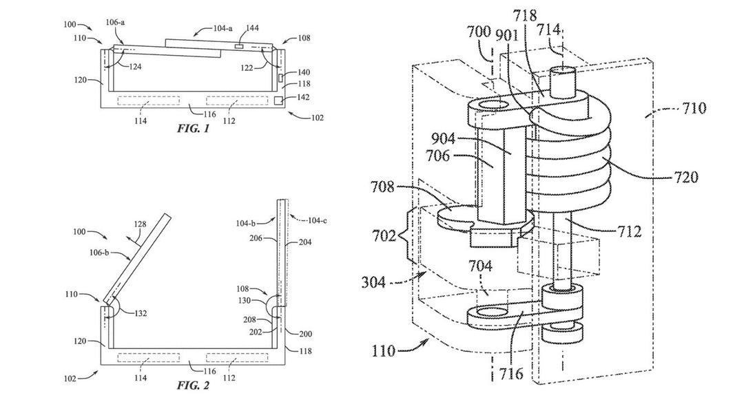
Apple подала патентную заявку на двухосевой шарнирный механизм для устройства в форм-факторе очков под названием Apple Glass. Презентация устройства должна была состояться ещё с iPhone 12, однако в последний момент вендор отказался от идеи продвижения «умных» очков.
Apple запатентовала шарнирный механизм для «умных» очков Apple Glass

Возможно, новый патент говорит о возобновлении проекта, но всё же подобная заявка не гарантирует выпуск чего-либо нового. Касательно двухосевого шарнирного механизма, конструкция позволит складывать дужки очков различными способами, включая более широкое открытое положение, что может быть полезно для пользователей с широким лицом или большой головой, а также для усиления прочности при открывании очков.

Дизайн Apple Glass предполагает защиту внутренних компонентов, а шарнирный механизм автоматически фиксируется в последнем открытом положении и предполагает комфортный «зажим», чтобы соответствовать различным формам головы.

В патенте упоминаются и кабели, проложенные через шарнир, «которые могут использоваться для подключения динамиков в наушниках или других компонентов, расположенных на дужках». Как отмечает издание GizmoChina, этот момент ещё больше подкрепляет идею о форм-факторе, напоминающем очки, в отличие от устройства с креплением на голове, как у Vision Pro.