Опубликовано 26 августа 2025, 07:57
1 мин.

Sony может заменить девкиты PS6 на специальные PCIe-платы для превращения ПК в консольный набор разработчиков

Интересный так-то подход...
Sony готовит радикальное упрощение разработки игр для своей следующей консоли.
Sony может заменить девкиты PS6 на специальные PCIe-платы для превращения ПК в консольный набор разработчиков

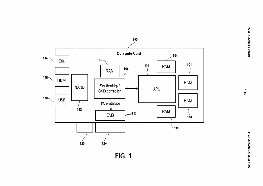
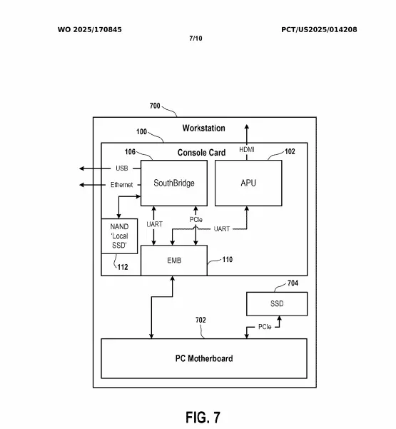
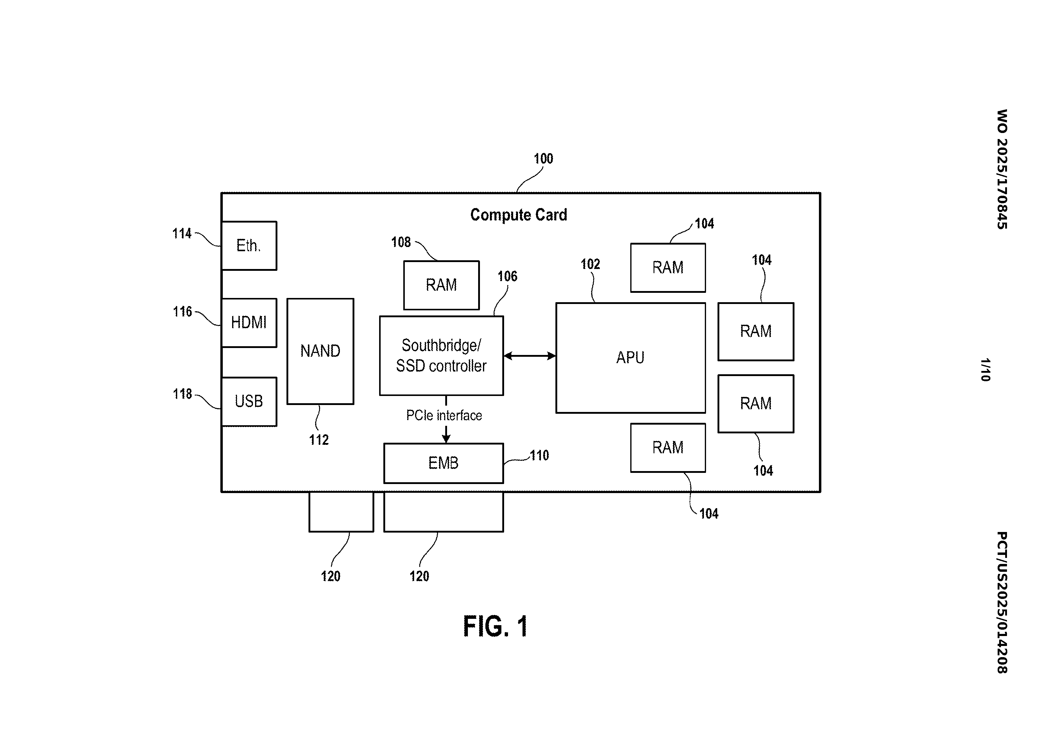
В новых патентах компания описывает замену привычных девкитов компактными PCIe-платами, которые можно вставить в обычный ПК или сервер. Такая карта будет содержать ключевые компоненты PlayStation и фактически превращать компьютер в полноценный девкит.

Решение должно снять главную боль студий: традиционные наборы для разработчиков громоздкие, дорогие и выпускаются ограниченными партиями. В отличие от них, PCIe-карты проще тиражировать и использовать как локально, так и в составе удалённых «девкит-серверов», к которым можно подключаться через интернет.

Управление связью между платой и хост-системой обеспечит специальный чип endpoint management bridge.

Таким образом, Sony стремится сохранить эксклюзивность платформы, но одновременно снизить барьеры для разработчиков.

Если идея воплотится, студии смогут быстрее адаптироваться под PlayStation 6 и проще тестировать проекты, а сама экосистема получит больше контента без компромиссов в качестве.