Опубликовано 17 июля 2023, 10:32
1 мин.

Apple научилась скручивать iPhone в рулон

Вот и появился новый конкурент для Samsung и LG
Apple подала патент на сворачивающийся iPhone, который может стать революционным обновлением для будущих моделей.
Apple научилась скручивать iPhone в рулон

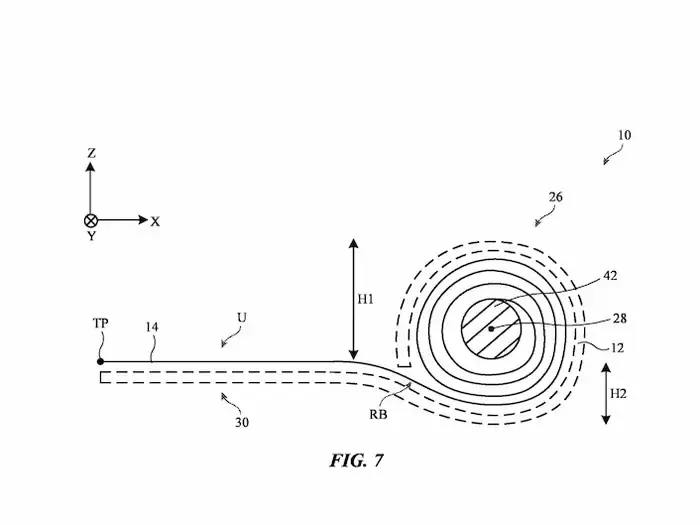
Документ, поданный компанией в ноябре и опубликованный в июле, представляет собой концепцию сворачивающегося телефона, использующего тонкое стекло и специальные компоненты, чтобы предотвратить повреждение экрана при скручивании.

И хоть патент относится к электронным дисплеям общего назначения, Apple явно указывает, что данная конструкция может быть использована в телефонах, подтверждая свои амбиции на рынке сворачивающихся смартфонов.

Отметим, что если купертиновцы реализуют проект, то они наконец-то присоединятся к другим крупным производителям, таким как Samsung, Motorola и LG, которые также работают над сворачивающимися телефонами.

На данный момент ни одна из компаний не выпустила подобный смартфон на массовый рынок, хотя некоторые уже представили концепты и прототипы.