Опубликовано 26 марта 2021, 11:05
1 мин.

Apple изобрела новый способ охлаждения ноутбуков MacBook Pro

Удивительно, что компания не додумалась до этого раньше
В сети появилась информация о свежем патенте Apple. Как оказалось, компания изобрела новый способ охлаждения своих ноутбуков. Самое интересное, что полезным данный метод будет лишь для линейки MacBook Pro, т.к. на Air отсутствуют кулеры.
Apple изобрела новый способ охлаждения ноутбуков MacBook Pro

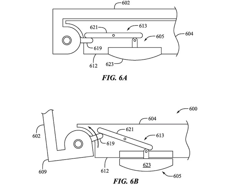
Суть методики заключается в добавлении в ноутбуки выдвижных ножек, способных приподнять заднюю часть корпуса девайса, пишет MacRumors. Таким образом, портативный компьютер сможет лучше пропускать воздух, тем самым охлаждая весь корпус.

Что интересно, Apple также добавила в документ понижение температуры корпуса ноутбука через выдвижной блок с вентиляционными решётками на нижней крышке. Так, в момент, когда эта крышка открыта, частота процессора может повышаться автоматически, улучшая производительность ноутбука. При этом можно не бояться, что устройство будет излишне нагреваться.