Опубликовано 16 мая 2021, 15:24
1 мин.

Samsung изобрела гнущийся в разные стороны смартфон

Сгибается в портретной ориентации
Samsung запатентовала новый смартфон с гибким экраном. На этот раз устройство может сгибаться в разные стороны.
Samsung изобрела гнущийся в разные стороны смартфон

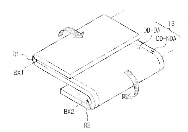
Управление США по патентам и торговым маркам (USPTO) опубликовало патентную документацию Samsung. Как пишет 3DNews, в разложенном виде устройство представляет собой самый обычный смартфон. Однако можно сложить аппарат как внутрь, так и наружу по горизонтальному сгибу при портретной ориентации. Таким образом можно целиком скрыть экран. Части смартфона гнутся в разные стороны, поэтому можно создавать самые разные комбинации. Можно даже получить конструкцию в виде буквы «S». Варианты показаны на рисунках ниже:

Надо понимать, что это лишь патент. Поэтому пока неясно, выпустит ли Samsung такое устройство на рынок.